애플이 '손짓' 관련 특허를 취득해 관심을 모았다.
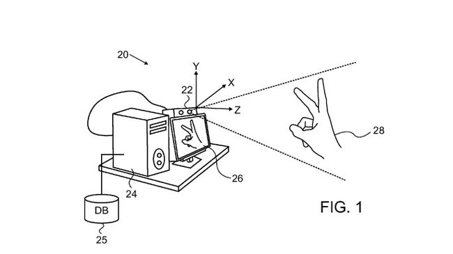
7일(현지시간) 미국 IT 전문 '애플인사이더'에 따르면 애플은 이날 광 3D 맵핑 시스템인 제스처 컨트롤 관련 특허를 미국특허청으로부터 받았다. 'Learning-based estimation of hand and finger pose'라는 이름의 이 특허는 손가락 혹은 손의 움직임을 식별해 분석하고 그 데이터를 인터페이싱 방법으로 PC로 전달할 수 있는 기술이다.
특히 이 특허는 만약 사용자의 손 일부가 가려져 있거나 카메라에 표시되지 않는 경우에도 부분적인 동작만으로도 인식할 수 있다.

이는 마이크로소프트(MS)의 키넥트와 유사한 것으로 알려졌다. 하지만 정확성 면에서 좀덜 엄격하다는 점에서 흥미롭다.
이 특허는 지난 2013년 3월 처음 신청한 것으로 알려졌다. 애플은 당시 모션 감지 및 3D 센서 기술 전문 이스라엘 업체 프라임센스를 인수했다. 프라임센스는 마이크로소프트 엑스박스에 칩을 제공하기도 했던 업체다. 게이머가 손과 몸짓으로 자신의 컴퓨터를 제어할 수 있도록 하는 센서를 개발하는 회사였다.
애플은 이번 특허를 어떻게 사용할지에 대해 구체적인 말을 아끼고 있다. 하지만 애플 TV를 비롯해 맥, iOS 등에 이 기술을 적용할 수 있을 것으로 보인다.

letmeout@osen.co.kr
미국특허청(USPTO) 제공